Navigation
UCC AI universal CMM controller
The UCC AI provides the interface between the CMM controller and a third party servo power analogue amplifier (which provides power to the CMM motors)
Required for large higher voltage CMM systems which may require motor voltages in excess of 80 V or motor currents in excess of 10 A- These voltages and currents are not supported by current Renishaw SPA products
Features
- Supports third party servo power analogue interface amplifiers
- ± 10 V differential analogue SPA command
- SPA control I/O
- The UCC AI can automatically adjust the supply voltage to encoder readheads (to compensate for long scale cables)
- Up to four CMM axes can be handled by the UCC AI
- Up to five CMM axes can be handled by a dual UCC AI setup
- Some 3rd party temperature compensation boxes can be interfaced to the UCC AI using the RS232 interface
- Probe interface (PICS)
- MCU interface
- Supporting incremental and absolute encoders
- CMM machine input / output, including:
• Air solenoid
• Brakes (for each axis)
• Z-axis crash status
• Travel limit warnings (both inner and outer limits for each axis)
• Air status
• 13 un-committed I/O (6 input and 7 output) that can be customised by the user


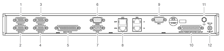
| Key | Description | Key | Description |
|---|---|---|---|
| 1 | Scale 0 interface (15W HDD socket) | 7 | PICS (9W D socket) |
| 2 | Scale 1 interface (15W HDD socket) | 8 | UCC - SPA (RJ45 socket) |
| 3 | Scale 2 interface (15W HDD socket) | 9 | MCU (9W D plug) |
| 4 | Scale 3 interface (15W HDD socket) | 10 | Servo power amplifier / E-STOP (25W D socket) |
| 5 | Machine I/O (44W HDD socket) | 11 | Earth terminal |
| 6 | RS232 (9W D plug) | 12 | UCC AI power jack (6.3 mm socket) |
WARNING: The capability to connect the UCC AI to a third party analogue amplifier requires UCCsuite v5.3 or newer.
Dimensions
Width | Height | Depth |
440 mm (19 in enclosure) | 44 mm (1U) | 180 mm |

NOTE: Dimensions in mm (in).
Weight
UCC T3-2 | UCC T3 PLUS | UCC S3 | UCC T5 | UCC S5 | UCC MMI-2 |
2.1 kg (4 lb 10 oz) | 2.4 kg (5 lb 5 oz) | 2.4 kg (5 lb 5 oz) | 2.1 kg (4 lb 10 oz) | 2.1 kg (4 lb 10 oz) | 2.1 kg (4 lb 10 oz) |
UCC BI | UCC AI | UCC PI 80 |
2.1 kg (4 lb 10 oz) | 2.1 kg (4 lb 10 oz) | 2.4 kg (5 lb 5 oz) |
| Part number | |
| UCC AI | A-6251-0400 |