Navigation
UCC PI 80 universal CMM controller
The UCC PI 80 is required for CMM systems which are fitted with Renishaw's SP80 scanning probe
A Renishaw UCC S3 controller will receive signals from the SP80 through the UCC PI 80 interface- If the CMM system uses brushless motors, then the UCC PI 80 may be connected to a Renishaw SPA2-2 which provides power
- Please see the UCC BI user guide (Renishaw part number H-1000-7602) for configuration instructions
- If the CMM system uses motors which are not supported by Renishaw SPA products (e.g. above 80 V or 10 A), then the UCC PI 80 may be connected to a third party analogue amplifier to provide power
- Please see the UCC AI user guide (Renishaw part number H-1000-7611) for configuration instructions


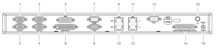
| Key | Description | Key | Description |
|---|---|---|---|
1 | Scale 0 interface (15W HDD socket) * | 9 | UCC - EXP (RJ45 socket) |
2 | Scale 1 interface (15W HDD socket) * | 10 | UCC - SPA (RJ45 socket) * |
3 | Scale 2 interface (15W HDD socket) * | 11 | SPA - A (RJ45 socket) ** |
4 | Scale 3 interface (15W HDD socket) * | 12 | SPA - B (RJ45 socket) ** |
5 | SP80 interface (15W D socket) | 13 | MCU (9W D plug) * |
6 | Machine I/O (44W HDD socket) * | 14 | Servo power amplifier / E-STOP (25W D socket) * |
7 | RS232 (9W D plug) * | 15 | Earth terminal |
8 | PICS (9W D socket) * | 16 | UCC PI 80 power jack (6.3 mm socket) |
* NOTE: Only to be used when interfacing to an SPA2-2 (see the UCC BI installation guide, Renishaw part number H-1000-7602) or when using a third party amplifier (see the UCC AI installation guide, Renishaw part number H-1000-7611), otherwise the SPA3 / SPA3-2 connections should be used.
** NOTE: Only to be used when interfacing to an SPA2-2 (see UCC BI installation guide, Renishaw part number H-1000-7602).
WARNING: The capability to connect the UCC PI 80 to a third party analogue amplifier requires UCCsuite v5.3 or newer.
Dimensions
Width | Height | Depth |
440 mm (19 in enclosure) | 44 mm (1U) | 180 mm |

NOTE: Dimensions in mm (in).
Weight
UCC T3-2 | UCC T3 PLUS | UCC S3 | UCC T5 | UCC S5 | UCC MMI-2 |
2.1 kg (4 lb 10 oz) | 2.4 kg (5 lb 5 oz) | 2.4 kg (5 lb 5 oz) | 2.1 kg (4 lb 10 oz) | 2.1 kg (4 lb 10 oz) | 2.1 kg (4 lb 10 oz) |
UCC AI | UCC PI 80 |
2.1 kg (4 lb 10 oz) | 2.4 kg (5 lb 5 oz) |
| Part number | |
| UCC PI 80 | A-6251-0100 |